Return

Yamaha CUSTOM XVS1300A Midnight Star 2014

Add model to garage

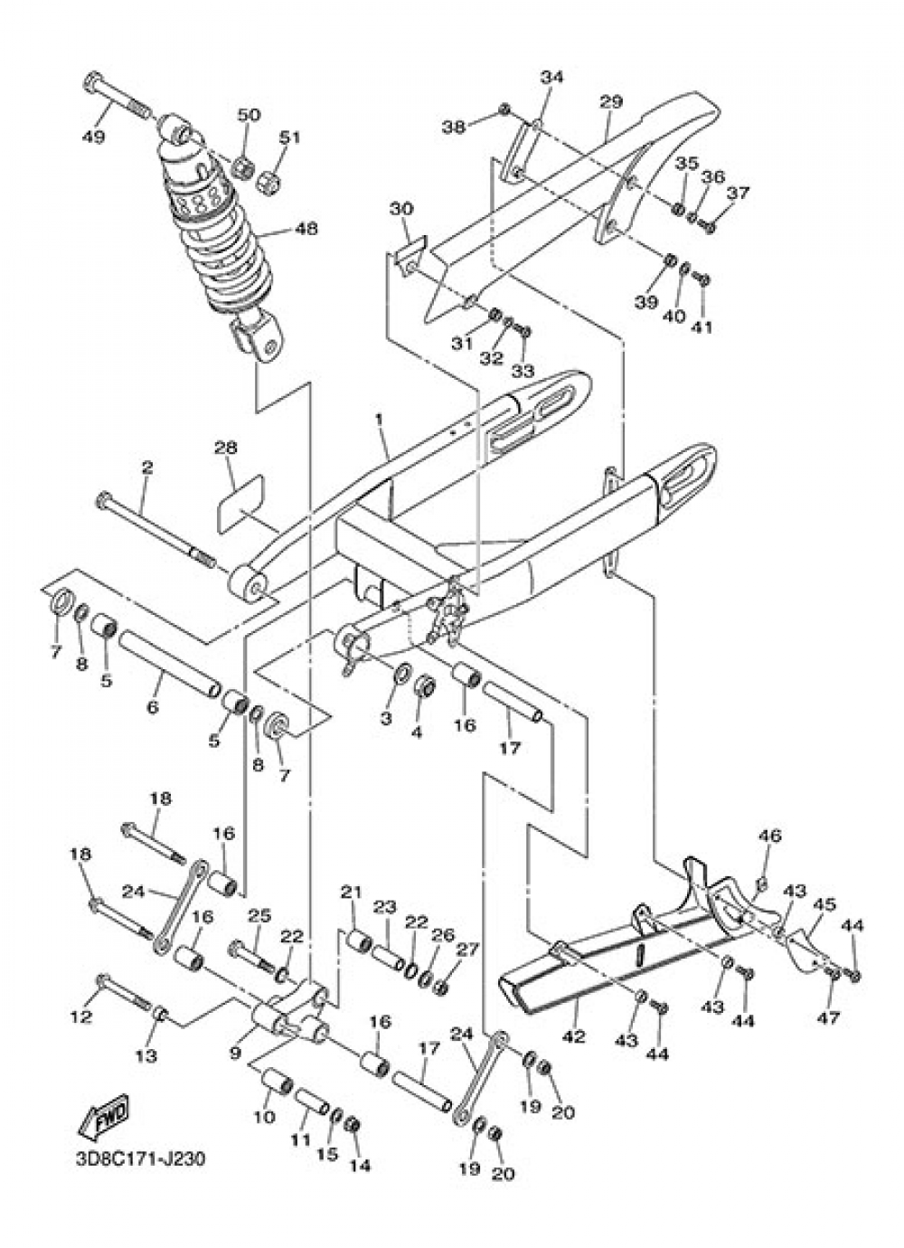
REAR ARM & SUSPENSION Yamaha XVS1300A Midnight Star 2014

Pos. Ref./Description Price Qty.
28 PROTECTOR
5PX216520000
14,38 € 1 Add
29 CASE, CHAIN
3D8223111000
85,09 € 1 Add
30 REINF.,1
3D8223510000
15,21 € 1 Add
31 GROMMET
904801308000
1,82 € 1 Add
32 COLLAR
903870614600
2,55 € 1 Add
33 SCREW(4DN)
901490630200
6,15 € 1 Add
34 STAY, CHAIN CASE
3D82213J0000
17,44 € 1 Add
35 GROMMET
904801300400
2,64 € 1 Add
36 COLLAR
903870617100
4,36 € 1 Add
37 BOLT
901110603800
4,29 € 1 Add
38 NUT(661)
953800660000 953020660000
2,97 € 5 Add
39 GROMMET
904801300400
2,64 € 1 Add
40 WASHER, PLATE
902010609500
0,62 € 1 Add
41 SCREW(4DN)
901490630200
6,15 € 1 Add
42 CASE, CHAIN 2
3D8223120000
52,33 € 1 Add
43 COLLAR
903870610600 903870637200
1,46 € 1 Add
44 BOLT
901110603800
4,29 € 1 Add
45 PLATE, GUIDE 1
3D8223411000
11,55 € 1 Add
46 NUT, SPRING(4ES)
901830606900 901830605300
2,12 € 1 Add
47 SCREW(3XV)
901490629800 901110607800
6,49 € 1 Add
48 SHOCK ABSORBER ASSY, REAR
11C222101000
Obsolete 1 Not available
49 BOLT
901091002800
9,20 € 1 Add
50 NUT, U FLANGE
956021020000
4,42 € 1 Add
51 CAP
5YU2143A0000
6,15 € 1 Add
What do our customers think? Average score: 9,83 / 10
0 My bikes

This site uses it's own and third party cookies to improve the users experience. Under no circumstance will they be used to gather personal information. You can accept or reject their use. You will find more information on our cookie policy